- High Voltage Vacuum Circuit Breaker
- VS1 Medium-Voltage Indoor Vacuum Circuit Breaker
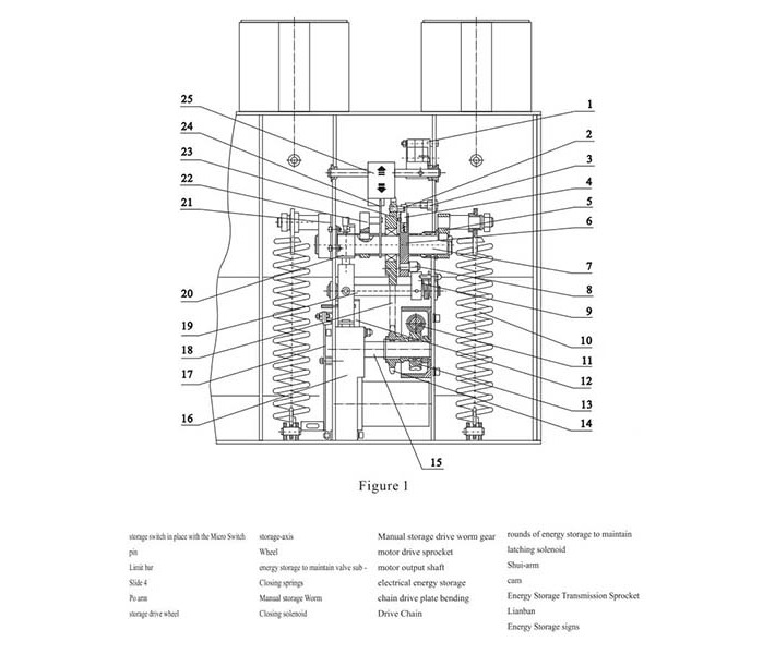
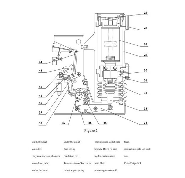
- VCB Composition
في الظروف العادية، تظل نقاط الاتصال الرئيسية مغلقة للسماح بتدفق التيار المستمر. عند اكتشاف التيار الزائد أو ماس كهربائي، تقوم آلية الزنبرك بفصل نقاط الاتصال بسرعة، مما ينتج عنه قوس موجود داخل قاطع الفراغ. يتم تبريد القوس وإطفائه، مما يؤدي إلى عزل الدائرة المعيبة بشكل آمن ومنع تلف المعدات الموجودة في اتجاه مجرى النهر. ويضمن هذا موثوقية تشغيلية عالية واحتياجات صيانة ضئيلة.
| |
- Withstand Voltage Test
- Product Debugging
- Product Debugging
- Product Debugging
- Product Debugging
- Withstand Voltage Test
- Mechanical Characteristic Testing
- Product Debugging
- Test the opening and closing speed, time, synchron
- High Voltage Vacuum Circuit Breaker
- VS1 Medium-Voltage Indoor Vacuum Circuit Breaker
ولضمان سلامة النقل، يتم تصدير منتجاتنا الكهربائية في صناديق خشبية معززة. وتخضع الصناديق للمعالجة الحرارية وتحمل علامة ISPM-15، مما يتيح التخليص الجمركي السريع. يسهل تصميم القاعدة المرتفعة تشغيل الرافعة الشوكية، بينما يضمن التثبيت الداخلي الممتص للصدمات وصول المنتجات سليمة. جميع الصناديق الخارجية تحمل علامات واضحة وتتوافق مع المعايير اللوجستية الدولية.
-
Box-typesubstation ACB VCB MCCB
-
Box-typesubstation ACB VCB MCCB
-
Box-typesubstation ACB VCB MCCB
-
Power transmission successful
-
Photovoltaic Grid-Connected Cabinet Utilising ACB and MCCB
-
Power transmission successful
-
Box-typesubstation ACB VCB MCCB
-
Power transmission successful
-
Photovoltaic Grid-Connected Cabinet Utilising ACB and MCCB
-
Photovoltaic Grid-Connected Cabinet Utilising ACB and MCCB
| لا | عنصر | وحدات | قيمة العد |
| 1 | الجهد المقدر | - | 12 24 35 |
| 2 | الجهد المقدر (short-term frequency tolerance 1min) | كيلو فولت | 42 |
| 3 | الجهد المقدر tolerance lightning shocks peak | - | 75 |
| 4 | التردد المقدر | هرتز | 50 |
| 5 | المعدل الحالي | أ | 630、1250 |
| 630、1250、1600、2000、2500、3150 | |||
| 1250、1600、2000、2500、3150、4000 | |||
| 6 | تيار الدائرة المفتوحة القصيرة المقدر | كا | 20/25、31.5、40 |
| 7 | الجهد المقدر short tolerance | كا | 20/25、31.5、40 |
| 8 | مدة قصيرة مصنفة | س | 4 |
| 9 | المعدل الحالي peak tolerance | كا | 50/63、80、100 |
| 10 | إغلاق تيار الدائرة القصيرة المقدر | كا | 50/63、80、100 |
| 11 | التسامح مع جهد التردد للدائرة الثانوية 1 دقيقة) | الخامس | 2000 |
| 12 | مكثف أحادي الظهر المقدر يضبط تيار الدائرة المفتوحة | أ | 630/400 (40 كيلو أمبير 800/400) |
| 13 | المكثف المقدر يضبط التيارات القريبة | كا | 12.5 (تردد لا يزيد عن 1000 هرتز) |
| 14 | زمن الكبح (الجهد المقدر) | م | ≤50 |
| 15 | وقت التغذية (الجهد المقدر) | م | ≤100 |
| 16 | الحياة الميكانيكية | - | 20000 |
| 17 | المعدل الحالي open circuit times (life) | التبديل | 20000 |
| 18 | الدائرة المفتوحة لتيار الدائرة القصيرة المقدرة | - | 50(40 كيلو أمبير≤30) |
| 19 | يسمح الاتصال الديناميكي والثابت بسمك التآكل | مم | 3 |
| 20 | وحدة تغذية جهد التشغيل المقدرة | - | - |
| 21 | الجهد المقدر break-brake operations | الخامس | أC110/220 DC110/220 |
| 22 | الجهد المقدر لمحرك التخزين | - | - |
| 23 | تصنيف قوة محرك التخزين | و | 70 |
| 24 | وقت التخزين | س | ≤10 |
| 25 | مسافة فتح جهة الاتصال | مم | 11 ± 1 |
| 26 | رحلة رائعة | - | 3.5 ± 0.5 |
| 27 | إغلاق وقت ارتداد جهة الاتصال | م | ≤240(أ≤3) |
| 28 | نقاط ثلاثية المراحل، تغلق في مراحل مختلفة من الحياة الجنسية | - | ≤2 |
| 29 | أverage gate speed (contact separation-6mm) | م/ث | 0.9–1.2 |
| 30 | أverage closing speed (6mm-contact closure) | م/ث | 0.5–0.8 |
| 31 | مقاومة الدائرة الكهربائية الرائدة | μΩ | ≤50(630أ)、≤45(1250أ) ≤35(1600–2000A)、≤250(2400) |
| 32 | ضغط اتصال وحدة تغذية التلامس | ن | 2000±200(2000A)、2400±200(25kA) 3100±200(31.5 كيلو أمبير)、4250±250(40 كيلو أمبير) |
| 33 | تسلسل التشغيل المقدر | - | النقاط - 0.3 ثانية - والنقاط 180 ثانية - و - |

English




































